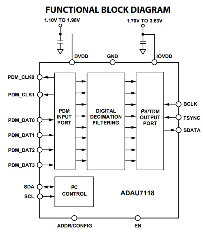
Analog Devices Inc. ADAU7118 8-Channel PDM to I2S/TDM Converter

Analog Devices ADAU7118 8-Channel PDM to I2S/TDM Converter changes four stereo pulse density modulation (PDM) bitstreams into one pulse code modulation (PCM) output stream. The source for the PDM data can be eight microphones or other PDM sources. The PCM audio data is output on a serial audio interface port in either inter-IC serial (I2S) or time domain multiplexed (TDM) format. The ADAU7118 is specified over the commercial temperature range (-40°C to +85°C). The ADAU7118 is available in a 16-lead, 3×3mm, 0.40mm pitch, lead frame chip scale package (LFCSP).

Features

  • 8 channels of PDM audio inputs from digital microphones
  • 16×, 32×, or 64× decimation ratio of PDM to PCM audio data
  • 24-bit resolution to support high sound pressure level (SPL) microphones
  • 126dB A-weighted SNR
  • 4kHz to 192kHz output sampling rate
  • Bit clock rates of 64×, 128×, 192×, 256×, 384×, or 512× the output sampling rate
  • Dual-output PDM clocks
  • Automatic PDM clock generation
  • Automatic power-down when BCLK removed
  • Selectable I2C control or hardware mode operation
  • 1.2mA DVDD operating current for 8 channels at 48kHz frequency sampling rate and 1.8V supply
  • Slave I2S or TDM output interface
  • Up to TDM-16 supported
  • Configurable TDM slot routing and sizes
  • I/O supply voltage from 1.70V to 3.63V
  • DVDD supply voltage from 1.10V to 1.98V
  • <5μA typical DVDD shutdown current
  • 16-lead, 3mm × 3mm, 0.40mm pitch LFCSP
  • Power-on reset

Applications

  • Microphone arrays
  • Mobile computing
  • Portable electronics
  • Consumer electronics
  • Professional electronics

Block Diagram

Block Diagram - Analog Devices Inc. ADAU7118 8-Channel PDM to I2S/TDM Converter
Publicado: 2019-06-26 | Actualizado: 2024-03-19