Analog Devices Inc. ADIN1110 Low Power 10BASE-T1L Ethernet MAC-PHY
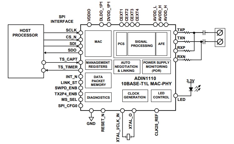
Analog Devices Inc. ADIN1110 Low Power 10BASE-T1L Ethernet MAC-PHY integrates an Ethernet PHY core with a MAC and all the associated analog circuitry, input and output clock buffering. The ADIN1110 features a single power supply rail of 1.8V or 3.3V and is designed for industrial Ethernet applications.The Analog Devices ADIN1110 Low Power 10BASE-T1L Ethernet MAC-PHY provides programmable transmit levels, external termination resistors, and independent Rx/Tx pins, enabling the device for intrinsic safety applications. The ADIN1110 has integrated voltage supply monitoring and power-on reset circuitry to improve system-level robustness.
The Ethernet MAC-PHY offers a 4-wire SPI interface for communication between the MAC and host processor. The ADIN1110 is housed in a 6mm x 6mm 40-lead package.
Features
- Auto-negotiation capability
- Supports intrinsic safety applications
- External termination resistors
- Separate Rx/Tx pins
- Integrated MAC with SPI interface
- SPI interface supporting 10Mb/sec full duplex
- Supports Open Alliance 10BASE-T1x MAC-PHY Serial
- Interface
- MDIO memory map accessible via SPI
- On-chip FIFOs: 20kB receive, 8kB transmit
- Cut-through or Store and forward operation
- Rx high and low priority queues
- IEEE 1588 timestamp support
- Statistics counters
- 16 MAC addresses supported for frame filtering
- 10BASE-T1L IEEE® Std 802.3cg-2019TM compliant
- Supports 1.0V pk-pk and 2.4V pk-pk transmit levels
- Unmanaged configuration using pin strapping, including:
- Master/Slave selection
- Transmit amplitude
- 25MHz crystal oscillator/25MHz external clock input
- Single supply 1.8V/3.3V operation (mode dependent)
- Cable Reach
- 1700 meters+ with 1.0V pk-pk
- 1700 meters+ with 2.4V pk-pk
- Low power consumption – Dual supply 42mW typ
- Link LED
- Small package 40-lead (6mm x 6mm) LFCSP
- Wide temperature range -40°C to +105°C
Applications
- Process control
- Factory automation
- Building automation
Additional Resources
Functional BLock Diagram
Article
How a 10BASE-T1L MAC-PHY Simplifies Low Power Processor Ethernet Connectivity
A 10 Mb Ethernet physical layer (10BASE-T1L) combined with power delivery (Engineered Power/PoDL/SPoE) on two wires, up to 1 km, will enable new types of Ethernet-connected devices that generate higher value insights that are now more accessible via a converted IT/OT Ethernet network.
Designing a 10BASE-T1L Single-Pair Ethernet Condition Monitoring Vibration Sensor
This article discusses how to design a tiny, shared power and data interface (PoDL) for a CbM sensor including power supply design, mechanical design, MEMS sensor selection, and software for a complete sensor solution.
