Analog Devices Inc. ADV7181D SDTV/HDTV Video Decoder

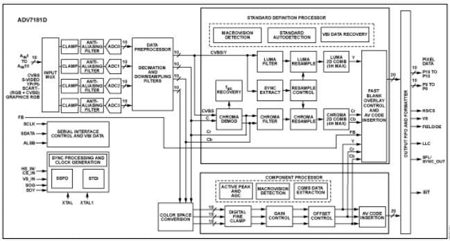
Analog Devices Inc. ADV7181D 10-Bit, SDTV/HDTV Video Decoder is designed as a high quality, single-chip, multiformat video decoder and graphics digitizer. ADV7181D features two main processing sections. The first section is the standard definition processor (SDP), which supports the conversion of PAL, NTSC, and SECAM standards in the form of composite or S-Video into a digital ITU-R BT.656 format.

The second section is the component processor (CP), which supports the decoding of a component RGB/YPrPb video signal into a digital YCrCb or RGB pixel output stream. Support for component video includes standards such as 525i, 625i, 525p, 625p, 720p, 1080i, and many other HD and SMPTE standards. In addition, ADV7181D is also capable of digitizing RGB graphics signals from VGA to XGA rates and converting them into a digital DDR RGB or YCrCb pixel output stream. SCART and overlay functionality are enabled by the ability of the ADV7181D to simultaneously process CVBS and standard definition RGB signals. The mixing of these signals is controlled by the fast blank (FB) pin.

Features

  • Qualified for automotive applications
  • Four 10-bit ADCs sampling up to 75MHz
  • 10 analog input channels
  • SCART fast blank support
  • Internal antialias filters
  • NTSC, PAL, and SECAM color standards support
  • 525p/625p component progressive scan support
  • 720p/1080i component HDTV support
  • Digitizes RGB graphics up to 1024 × 768 at 70Hz (XGA)
  • 3 × 3 color space conversion matrix
  • −40°C to +85°C Industrial temperature range

Applications

  • Automotive entertainment
  • HDTVs
  • LCD/DLP® projectors
  • HDTV STBs with PVR
  • DVD recorders with progressive scan input support
  • AVR receivers

Block Diagram

Block Diagram - Analog Devices Inc. ADV7181D SDTV/HDTV Video Decoder
Publicado: 2014-11-18 | Actualizado: 2022-03-11