Analog Devices Inc. MAX31732 Multi-Channel Temperature Sensor

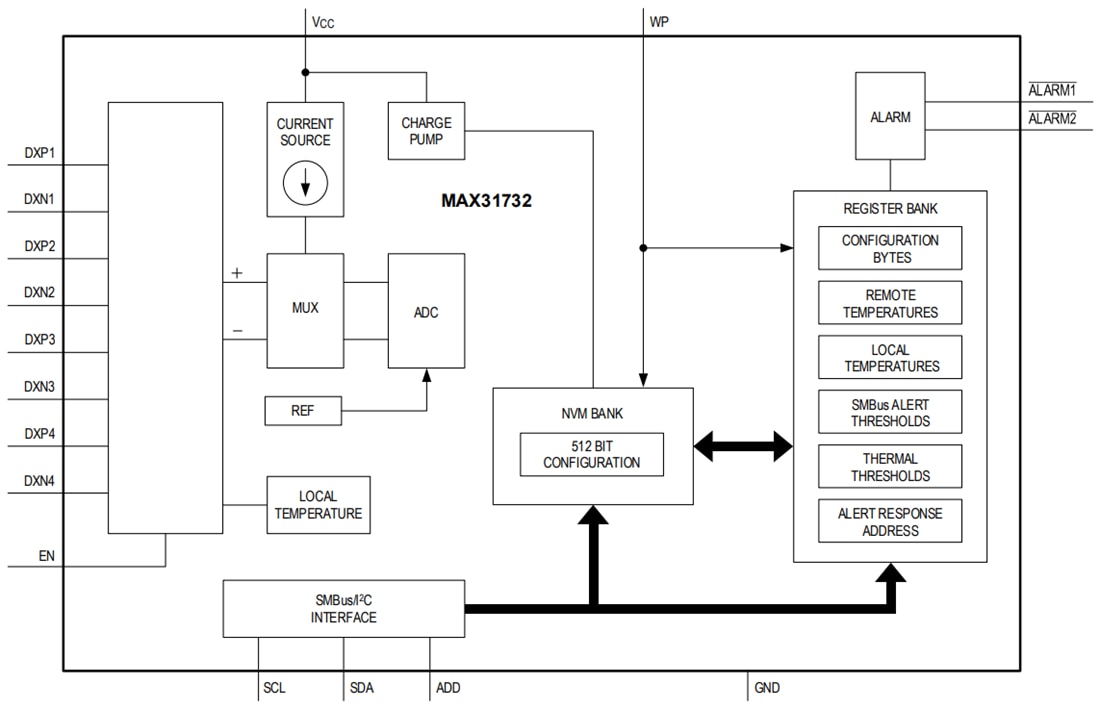
Analog Devices MAX31732 Multi-Channel Temperature Sensor monitors up to four external diode-connected transistors and its own temperature. A resistance cancellation feature compensates for up to 300Ω of series resistance between the external thermal diode and the MAX31732. At the same time, beta compensation corrects for temperature measurement errors due to low-beta sensing transistors. The sensor also allows ideality factors between 0.9844 and 1.311.

The MAX31732 offers active-low alarm outputs and two open-drain, ALARM1 and ALARM2. When a channel's measured temperature crosses the primary over-temperature/under-temperature threshold levels, ALARM1 asserts low, and a status bit is set in the corresponding thermal status registers. When the measured temperature of a channel crosses the secondary over-temperature/under-temperature threshold levels, ALARM2 asserts low, and a status bit is set in the corresponding thermal status registers. The highest temperature register allows the controller to obtain the temperature of the hottest channel.

A 512-bit nonvolatile memory (NVM) allows the MAX31732 to program the configuration registers during power-up without software/firmware intervention. The NVM also captures the fault temperature for each remote and local channel for later analysis.

The 2-wire serial interface accepts SMBus protocols (read byte, write byte, send byte, and receive byte) for reading the temperature data and programming the temperature thresholds. The address selection input (ADD) can be connected to ground or a grounded resistor and used to select any one of the eight available target addresses.

The is specified over the -40°C to +125°C operating temperature range and with a 3.0V to 3.6V input supply range. Analog Devices MAX31732 is available in a 24-pin, 4mm x 4mm TQFN package.

Features

  • One local and four remote temperature-sensing channels
  • ±1°C remote temperature-measurement accuracy (-40°C to +125°C)
  • -64°C to +150°C remote temperature-measurement range
  • Up to 300Ω resistance cancellation for remote channels
  • Compensation for low beta transistors
  • Two programmable alarm temperature thresholds
  • 12-bit, 0.0625°C resolution
  • Eight selectable target addresses
  • Flexible I2C/SMBus interfaces to a variety of microcontrollers
  • Ideality factor of up to 1.311
  • NVM facilitates configuration and fault logging

Applications

  • Temperature measurement of on-chip CPU, ASIC, SOC, or FPGA diodes or remote discrete diodes
  • Industrial-thermal management

Functional Diagram

Block Diagram - Analog Devices Inc. MAX31732 Multi-Channel Temperature Sensor
Publicado: 2024-08-09 | Actualizado: 2024-09-04