Analog Devices / Maxim Integrated MAX31850/51 Thermocouple to Digital Converters
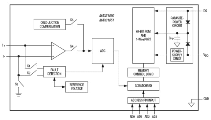
Analog Devices MAX31850/MAX31851 Thermocouple to Digital Converters are accurate thermocouple-to-digital converter ICs that ease design effort and lower system cost. The 1-wire interface simplifies multi-thermocouple systems with minimal wiring. Each device has a unique 64-bit serial code stored in an on-board ROM. They also feature four pin-programmable bits to identify up to 16 sensor locations on a bus uniquely. MAX31850/MAX31851 simplify system fault management and troubleshooting by detecting thermocouple shorts to GND or VCC. These devices also detect open thermocouples. Analog Devices MAX31850/MAX31851 Thermocouple to Digital Converters are ideal for various applications, including precision industrial thermal monitoring, medical equipment, solar equipment, automotive, and more.Features
- Ease and speed system design
- Integrate all of the required functions of a discrete solution
- ADC, precision amplifier, temperature sensor for cold-junction compensation, 1-wire communication interface
- Versions available for several thermocouple types
- K, J, N, T, and E (MAX31850)
- S and R (MAX31851)
- Highly accurate (±2.0°C) with no calibration required
- Integrate all of the required functions of a discrete solution
- Integrated solution lowers system cost over discrete solution
- One IC versus four to five discrete components reduces board space requirements
- Simplify system fault management and troubleshooting
- Detects thermocouple shorts to GND or VCC
- Detects open thermocouple
- 1-Wire multidrop capability simplifies multisensor systems
- Each device has a unique 64-bit serial code stored in an on-board ROM
- 4 pin-programmable bits to uniquely identify up to 16 sensor locations on a bus
- Minimizes wiring requirements
Applications
- Precision industrial thermal monitoring
- Medical equipment
- HVAC/Appliances
- Solar equipment
- Automotive
Application Circuit
Block Diagram
Videos
Publicado: 2013-03-05
| Actualizado: 2023-04-13
