Infineon Technologies PROFET™ Load Guard 12V High-Side Switches
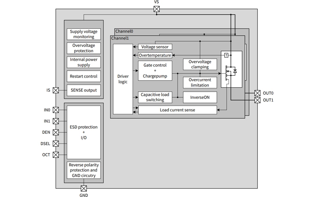
Infineon Technologies PROFET™ Load Guard 12V High-Side Switches offer maximum load flexibility for multiple power distribution that provides protection functions and enhanced diagnostic capabilities. The high-side switches are equipped with adjustable overcurrent limitations to offer high reliability for protecting the system. These features ensure that PCB traces, connectors, and loads are protected in case of a short circuit to the ground. The load guard switches include a capacitive load switching mode implemented to charge big capacitive loads and reduce current peaks during the switch-on of capacitors. The device addresses different use cases for intelligent power distribution, including load supply protection, wire protection, and power supply protection.The PROFET™ Load Guard 12V high-side switches are offered in a PG-TSDSO-14 package with a -40°C to 150°C operating junction temperature range.
Features
- Capacitive load switching mode to charge big capacitive loads in the safe operation area
- Automotive qualified in accordance with AEC Q100 Grade1 and ISO 26262-ready
- Diagnostics:
- Proportional load current sense
- Open load in ON and OFF state
- Short circuit to ground and battery
- Protection:
- Adjustable overcurrent limitation via an external resistor
- Absolute and dynamic temperature protection with restart control
- Switch ON capability while inverse current condition (InverseON)
Applications
- Driving resistive, inductive, and capacitive loads with currents up to 2A
- ADAS and AD modules, including cameras, radar, ultrasonic, and LIDAR modules
- Communication modules including antennas, BLUETOOTH®, V2X, and Wi-Fi®
- Replaces electromechanical relays, fuses, and discrete circuits
- Protection of system supply, load supply, and wires
- Main switch for ECU power supply
- Sensor heating elements
- Future power distribution architectures
Specifications
- 3V minimum operating voltage (VS(OP))
- 2.7V minimum cranking operating voltage (VS(UV))
- 28V maximum operating voltage (VS)
- 35V minimum overvoltage protection (VDS(CLAMP)_25)
- 0.5µA maximum current in sleep mode (IVS(SLEEP)_85)
- 4.5mA maximum operating current (IGND(ACTIVE))
- 90mΩ typical ON-state resistance (RDS(ON)_25)
- 180mΩ maximum ON-state resistance (RDS(ON)_150)
- 2A nominal load current (IL(NOM))
- 1000 typical current sense ratio (kILIS)
- 0.38A to 4.34A adjustable overcurrent limitation (ILIM)
- -40°C to +150°C operating junction temperature range (TJ)
- 4.9mm x 3.9mm PG-TSDSO-14 package
Typical Application Diagram
Block Diagram
Publicado: 2022-02-28
| Actualizado: 2023-01-13
