Microchip Technology PIC16F1845x 8-Bit Microcontrollers

Microchip PIC16F1845x 8-Bit Microcontrollers are designed to combine intelligent analog, Core Independent Peripherals (CIPs), and communication peripherals with eXtreme Low-Power (XLP) technology. These microcontrollers offer flexible solutions through a 12-bit Analog-to-Digital Converter with Computation (ADC2), Memory Access Partitioning (MAP), the Device Information Area (DIA), and Peripheral-Pin-Select (PPS). The PIC16F1845x microcontrollers operate within -40°C to +85°C temperature range and 1.8V to 3.6V (PIC16LF1845x) or 2.3V to 5.5V (PIC16F1845x) voltage range. The PIC16(L)F1845x 8-Bit Microcontrollers are available in 28-pin SPDIP, SSOP, SOIC, and VQFN packages to suit the requirements of the designers.

Features

  • Core
    • C compiler-optimized RISC architecture
    • Only 50 instructions
    • Operating speed
      • DC to 32MHz clock input
      • 125ns minimum instruction cycle
    • Interrupt Capability
    • 16-Level deep hardware stack
    • Timers:
      • Up to two 24-bit timers
      • Up to four 8-bit timers
      • Up to four 16-bit timers
    • Low-Current Power-on Reset (POR)
    • Configurable Power-up Timer (PWRT)
    • Brown-out Reset (BOR)
    • Low-Power BOR (LPBOR) Option
    • Windowed Watchdog Timer (WWDT)
      • Variable prescaler selection
      • Variable window size selection
      • Configurable in hardware (Configuration Words) and/or software
    • Programmable Code Protection
  • Memory
    • Up to 28KB program flash memory
    • Up to 2KB data SRAM memory
    • 256B Data EEPROM
    • Direct, indirect, and relative addressing modes
    • Memory Access Partition (MAP)
      • Write-protect
      • Customizable partition
    • Device Information Area (DIA)
    • Device Configuration Information (DCI)
  • eXtreme Low-Power (XLP) technology
    • Sleep mode, 50nA @ 1.8V (typical)
    • Watchdog timer, 500nA @ 1.8V (typical)
    • Secondary oscillator, 500nA @ 32kHz
    • Operating current
      • 8µA @ 32kHz, 1.8V (typical)
      • 32µA/MHz @ 1.8V (typical)

Specifications

  • Flash-type program Memory 
  • 28KB Program Memory Size 
  • 8 CPU Speed (MIPS/DMIPS)
  • 2048 bytes SRAM 
  • 256 bytes data EEPROM/HEF 
  • Digital Communication Peripherals
    • 2x UART
    • 2x SPI
    • 2x I2C
  • 5 Capture/compare/PWM peripherals
  • 4x 8-bit and 4 x 16-bit timers
  • 24-channel 12-bit ADC input
  • 2 comparators
  • -40°C to +125°C temperature range
  • Operating voltage ranges:
    • PIC16LF18456 @ 1.8V to 3.6V
    • PIC16F18456 @ 2.3V to 5.5V
  • 28 pin count

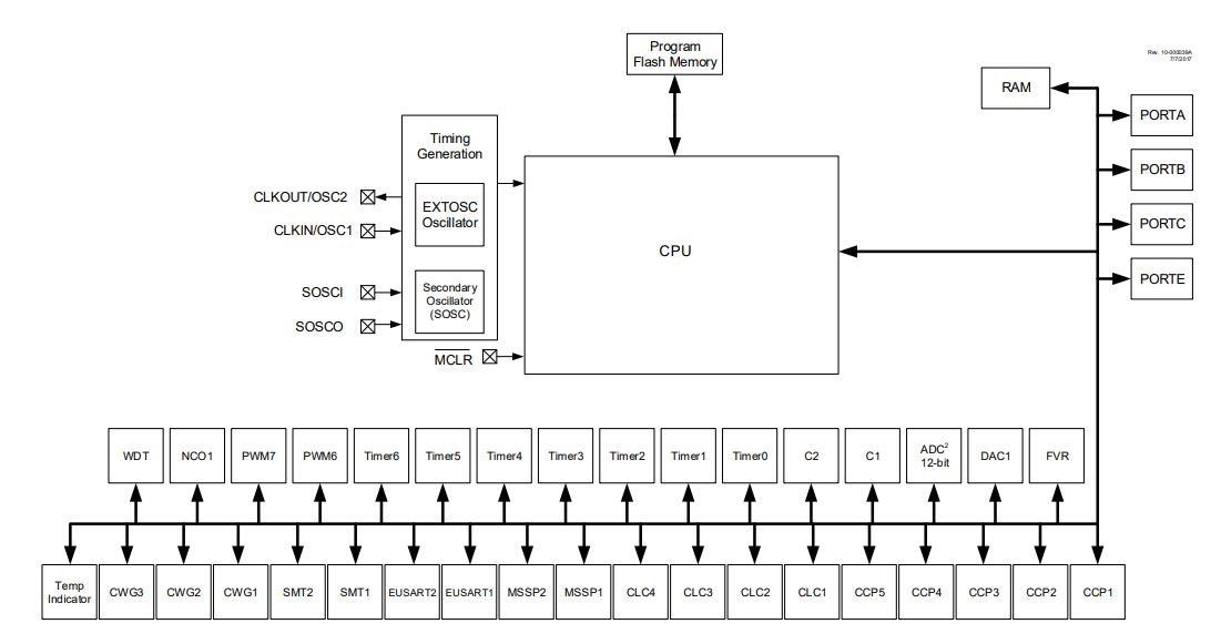
Block Diagram

Microchip Technology PIC16F1845x 8-Bit Microcontrollers
Publicado: 2018-08-02 | Actualizado: 2022-11-15