NXP Semiconductors PCA9956B 24-Channel LED Driver

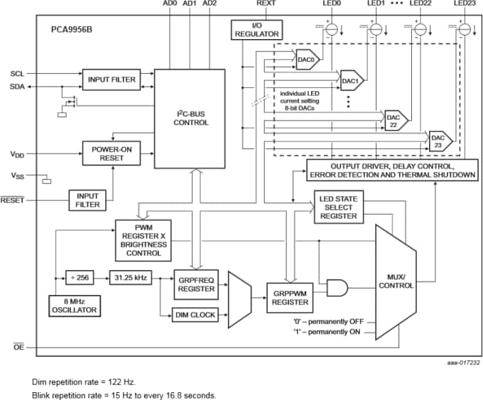
NXP PCA9956B 24-channel LED Driver is an I2C-bus controlled constant current driver designed for dimming and blinking 57mA Red/Green/Blue/Amber (RGBA) LEDs. Each LED output has an 8-bit resolution (256 steps) fixed frequency individual PWM controller that operates at 31.25kHz with a duty cycle that is adjustable from 0% to 100% to allow the LED to be set to a specific brightness value. An additional 8-bit resolution (256 steps) group PWM controller has both a fixed frequency of 122Hz and an adjustable frequency between 15Hz to once every 16.8 seconds with a duty cycle that is adjustable from 0% to 99.6% that is used to either dim or blink all LEDs with the same value.

Features

  • 24 LED drivers, each output programmable at:
    • Off
    • On
    • Programmable LED brightness
    • Programmable group dimming/blinking mixed with individual LED brightness
    • Programmable LED output delay to reduce EMI and surge currents
  • Gradation control for all channels
    • Each channel can assign to one of four gradation control groups
    • Programmable gradation time and rate for ramp-up and/or ramp-down operations
    • Programmable step time (6-bit) from 0.5ms to 512ms
    • Programmable hold-on time after ramp-up and hold-off time after ramp-down (3-bit) from 0s to 6s
    • Programmable final ramp-up and hold-on current
    • Programmable brightness current output adjustment, either linear or exponential curve
  • 24 constant current output channels can sink up to 57mA, tolerate up to 20V when OFF
    • Output current adjusted through an external resistor (REXT input)
  • Open/short load/overtemperature detection mode to detect individual LED errors
  • 1MHz Fast-mode Plus compatible I²C-bus interface with 30mA high drive capability on SDA output for driving high capacitive buses

Applications

  • Amusement products
  • RGB or RGBA LED drivers
  • LED status information
  • LED displays
  • LCD backlights
  • Keypad backlights for cellular phones or handheld devices
  • Fade-in and fade-out for breath light control

Specifications

  • 256-step (8-bit) linear programmable brightness per LED output varying from fully off (default) to maximum brightness fully ON using a 31.25kHz PWM signal
  • 256-step group brightness control allows general dimming (using a 122Hz PWM signal) from fully off to maximum brightness (default)
  • 256-step group blinking with frequency programmable from 15Hz to 16.8Hz and duty cycle from 0% to 99.6%
  • Low standby current
  • Output current accuracy
    • 4% between output channels
    • 6% between PCA9956B devices
  • 3V to 5.5V operating power supply voltage range 
  • 5.5V tolerant inputs on non-LED pins
  • -40°C to +85°C operating temperature range
  • ESD protection exceeds 4000V HBM per JESD22-A114
  • Latch-up testing is done to JEDEC Standard JESD78 which exceeds 100mA
  • HTSSOP2 package

Block Diagram

Block Diagram - NXP Semiconductors PCA9956B 24-Channel LED Driver
Publicado: 2016-01-15 | Actualizado: 2022-03-11