Toshiba Microcontrolador de 32 bits TMPM471F10FG
El microcontrolador de 32 bits TMPM471F10FG de Toshiba se basa en el procesador Arm® Cortex®-M4 con FPU. Este microcontrolador funciona en un rango de frecuencia de 1 MHz a 160 MHz y en un rango de voltaje de 4.5 V a 5.5 V. El microcontrolador TMPM471F10FG admite la rotación de FirmWare mediante la función de intercambio de memoria. Este microcontrolador incluye una capacidad de memoria flash máxima de 1 MB y mantiene hasta 100,000 ciclos de programa/borrado, lo que admite mejoras en la funcionalidad del dispositivo. El microcontrolador TMPM471F10FG cuenta con un convertidor de señal analógica a digital (ADC) de 12 bits, interfaz I2C versión A (EI2C) e interfaz serial asíncrona (UART). Este microcontrolador se utiliza en aplicaciones como equipos de motores, acondicionadores de potencia, robots, lavadoras y refrigeradores.Características
- Procesador ARM Cortex-M4 con FPU:
- Rango de frecuencia de funcionamiento de 1 MHz a 160 MHz
- Unidad de protección de memoria (MPU)
- Modo de bajo consumo de energía:
- Rango de voltaje en funcionamiento de 4.5 V a 5.5 V
- Operación de bajo consumo de energía IDLE, STOP1
- Memoria interna:
- 1 MB de código flash, regrabable hasta 100.000 veces
- El área de código flash es regrabable en paralelo con la ejecución de instrucciones en otra área de código
- RAM de 64 KB con paridad
- Reloj:
- Oscilador externo de alta velocidad de 6 MHz a 24 MHz (cerámica, vidrio)
- Entrada de reloj externo de alta velocidad de 6 MHz a 10 MHz
- Oscilador interno de alta velocidad con función de ajuste por parte del usuario (IHOSC1) de 10 MHz
- PLL de salida (reloj del sistema) de 160 MHz
- Convertidor de señal analógica a digital (ADC) de 12 bits:
- 23 entradas en 2 unidades
- Tiempo de conversión de 0.6µs
- Función de soporte de autodiagnóstico
- Circuito de control de motor programable avanzado (A-PMD):
- 2 canales
- Salida PWM complementaria trifásica y sincronizada con ADC
- Admite control PFC entrelazado trifásico
- Función de parada de emergencia por entradas externas (pin EMG, pin OVV)
- Contador de eventos de temporizador de 32 bits (T32A):
- 5 canales como temporizadores de 32 bits y 10 canales como temporizadores de 16 bits
- Temporizador de intervalos, contador de eventos, captura de entradas, entrada de diferencia de fases, salida PPG, inicio de sincronización e inicio de activación
- Temporizador Watchdog (SIWDT):
- 1 canal
- Se puede seleccionar un sistema de reloj diferente al reloj del sistema
- Limpiar ventana, interrupciones y restablecer salida
Aplicaciones
- Industrial:
- Inversores
- Equipo de motores
- Acondicionadores de potencia
- Robots
- Consumidor:
- Acondicionadores de aire
- Lavadoras
- Refrigeradores
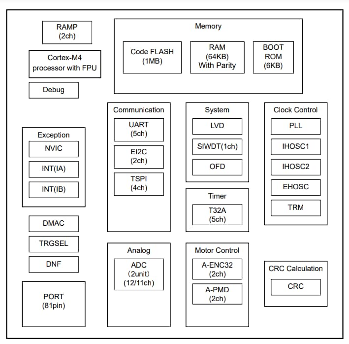
Diagrama de bloques
Publicado: 2025-02-21
| Actualizado: 2025-04-17
