STMicroelectronics LD39130S High Accuracy Voltage Regulators

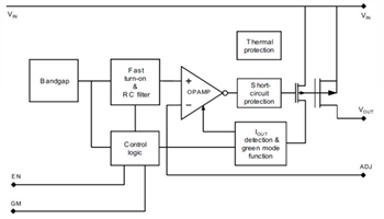
STMicroelectronics LD39130S High Accuracy Voltage Regulator provides 300mA maximum current from an input voltage ranging from 1.4V to 5.5V, with a typical dropout voltage of 300mV. This regulator is stabilized with a ceramic capacitor on the output. The LD39130S regulator features ultra low drop voltage, low quiescent current, and low noise that are suitable for low power battery-operated applications. This regulator integrates an internal logic circuitry that brings the regulator to the ultra-low consumption mode (green mode), when the output current required is very low. The normal working mode, with fast transient response, is restored when the load current increases. The LD39130S regulator employs the enable logic control function for shutdown mode with a total current consumption lower than 0.1μA. This device also provides current foldback and thermal protection.

STMicroelectronics LD39130S High Accuracy Voltage Regulator is available in compact DFN6 and CSP4 packages, ideal for space-constrained applications.

Features

  • 1.4V to 5.5V input voltage range
  • Ultra low dropout voltage (300mV (typical) at 300mA load)
  • Automatic green mode
  • Very low quiescent current
  • ± 1.0% at 25°C output voltage tolerance
  • 300mA guaranteed output current
  • A wide range of output voltages available on request
  • Logic-controlled electronic shutdown
  • Internal soft-start
  • Compatible with ceramic capacitor COUT = 1μF
  • Internal current foldback and thermal protection
  • Package options
    • 1.2mm x 1.3mm DFN6
    • 0.69mm x 0.69mm Flip-Chip
  • -40°C to +125°C operating temperature range

Applications

  • Smartphones
  • Tablets
  • Cameras
  • Cordless phones and similar battery-powered systems
  • Portable media players

LD39130S Regulators Block Diagrams

Publicado: 2014-04-18 | Actualizado: 2024-04-23