Texas Instruments AMC0x06M05/-Q1 Isolated Delta-Sigma Modulators

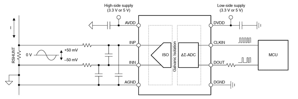
Texas Instruments AMC0x06M05/-Q1 Isolated Delta-Sigma Modulators are precision, galvanically isolated devices with a ±50mV differential input and a digital output. The modulator's input is optimized for connection to low-impedance shunt resistors commonly utilized in current-sensing applications. The isolation barrier separates parts of the system operating at different common-mode voltage levels. The isolation barrier is highly resistant to magnetic interference. The barrier is certified to supply reinforced isolation up to 5kVRMS (DWV package) and basic isolation up to 3kVRMS (D package) (60s). The AMC0x06M05/-Q1 output bitstream is synchronized to an external clock.

The TI AMC0x06M05/-Q1 Isolated Delta-Sigma Modulators combines a sinc3 and OSR 256 filter, allowing 16 effective bits of resolution or 84dB of dynamic range, at a 78kSPS sample rate. The AMC0x06M05-Q1 is available in 8-pin, wide- and narrow-body SOIC packages. The devices are fully specified over the -40°C to +125°C temperature range.

The AMC0x06M05-Q1 devices are AEC-Q100 qualified for automotive applications.

Features

  • AEC-Q100 qualified for automotive applications:
    • Temperature grade 1 : -40°C to +125°C, TA
  • ±50mV linear input voltage range
  • Supply voltage range:
    • High-side (AVDD): 3.0V to 5.5V
    • Low-side (DVDD): 2.7V to 5.5V
  • Low DC errors:
    • Offset error: ±200uV (maximum)
    • Offset drift: ±12uV/°C (maximum)
    • Gain error: ±0.3% (maximum)
    • Gain drift: ±50ppm/°C (maximum)
  • High CMTI: 150V/ns (minimum)
  • Missing high-side supply detection
  • Low EMI: meets CISPR-11 and CISPR-25 standards
  • Isolation ratings:
    • AMC0206M05-Q1: Basic isolation
    • AMC0306M05-Q1: Reinforced Isolation
  • Safety-related certifications:
    • DIN EN IEC 60747-17 (VDE 0884-17)
    • UL1577

Applications

  • Motor drives
  • Photovoltaic inverters
  • Server power-supply units (PSU)
  • Energy storage systems

Typical Application

Application Circuit Diagram - Texas Instruments AMC0x06M05/-Q1 Isolated Delta-Sigma Modulators
Publicado: 2026-02-05 | Actualizado: 2026-02-13