Texas Instruments LMG3626 700V 220mΩ GaN FET
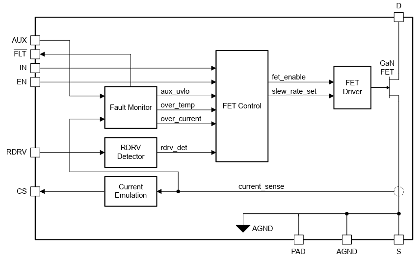
Texas Instruments LMG3626 700V 220mΩ GaN FET is designed for use in Switch-Mode Power Supply (SMPS) applications. This IC supports converter light-load efficiency requirements and burst-mode operation with low quiescent currents and fast start-up times. The LMG3626 features combine a gate driver, protection, and current sensing. This GaN FET protection features include Under-Voltage Lockout (UVLO), cycle-by-cycle current limit, and overtemperature protection. The LMG3626 GaN FET supports the high voltages encountered in off-line power switching applications. The GaN FET is offered in an 8mm x 5.3mm QFN package with a thermal pad. The LMG3626 is ideal for AC/DC adapters and chargers, mobile wall charger design, USB wall power outlet, auxiliary-power supplies, SMPS power supply for TVs, and LED power supplies.Features
- 700V, 220mΩ GaN power FET
- Integrated gate driver with low propagation delays and adjustable turn-on slew-rate control
- Current-sense emulation with high bandwidth and high accuracy
- Cycle-by-cycle overcurrent protection
- Overtemperature protection with FLT pin reporting
- 240μA AUX quiescent current
- 50μA AUX standby quiescent current
- 26V maximum supply and input logic pin voltage
- -40°C to 125°C operating temperature range
- 8mm x 5.3mm QFN package with thermal pad
Applications
- AC/DC adapters and chargers
- Mobile wall charger design
- USB wall power outlet
- Auxiliary-power supplies
- SMPS power supply for TVs
- LED power supplies
Block Diagram
Publicado: 2025-09-19
| Actualizado: 2025-09-30
