Texas Instruments LP87702/LP87702-Q1 Dual Buck Converters
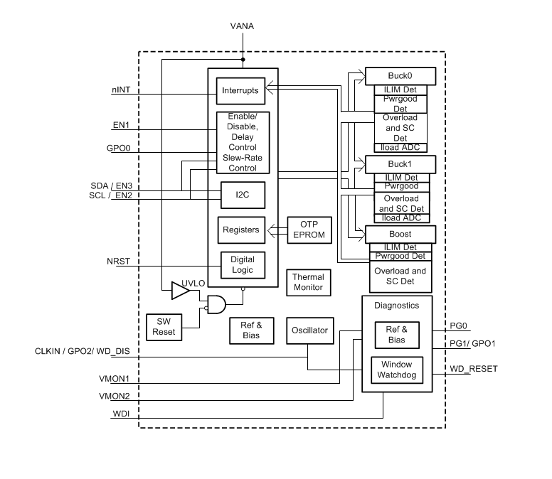
Texas Instruments LP87702/LP87702-Q1 Dual Buck Converters are designed to meet the power management platform requirements in automotive radar/camera and industrial radar applications. The LP87702/LP87702-Q1 combines two step-down DC/DC converters, a 5V boost converter/bypass switch, two voltage monitoring inputs for external power supplies, and a window watchdog. The device is powered through an I2C-compatible serial interface and enable signals control. High efficiency is achieved over a wide output current range in automatic PWM/PFM (AUTO mode) operation. The LP87702/LP8770 device eliminates the need for an external resistor due to the internal circuitry specifically designed to support current measurement. General-purpose digital outputs and programmable start-up/shutdown sequences synchronized to the enable signal are both supported by the device. The LP87702-Q1 devices are AEC-Q100 qualified for automotive applications.Features
- Two high-efficiency step-down DC/DC converters
- Maximum output current 3.5A
- 2MHz, 3MHz, or 4MHz switching frequency
- Auto PWM/PFM and forced-PWM operations
- Output voltage = 0.7V to 3.36V
- 5V Boost converter with Bypass-mode option:
- Maximum output current 600mA
- Two inputs for external voltage monitoring
- Interrupt function With programmable masking
- Output short-circuit and overload protection
- Overtemperature warning and protection
- Two programmable power-good signals
- Dedicated reference voltage for diagnostics
- Window watchdog with reset output
- External clock input to synchronize the switching
- Spread-spectrum modulation
- Programmable start-up and shutdown delays and sequencing with enable signal
- Configurable General Purpose Outputs (GPOs)
- I2C-Compatible interface supporting standard (100kHz), Fast (400kHz), Fast+ (1MHz), and high-speed (3.4MHz) modes
- Overvoltage Protection (OVP) and Undervoltage Lockout (UVLO)
Applications
- Automotive radar
- Automotive camera
- Automotive sensor fusion
- Industrial radar
- Building automation
Datasheets
Block Diagram
Publicado: 2018-08-24
| Actualizado: 2024-01-29
