Texas Instruments SN65HVS883 Digital-Input Serializer

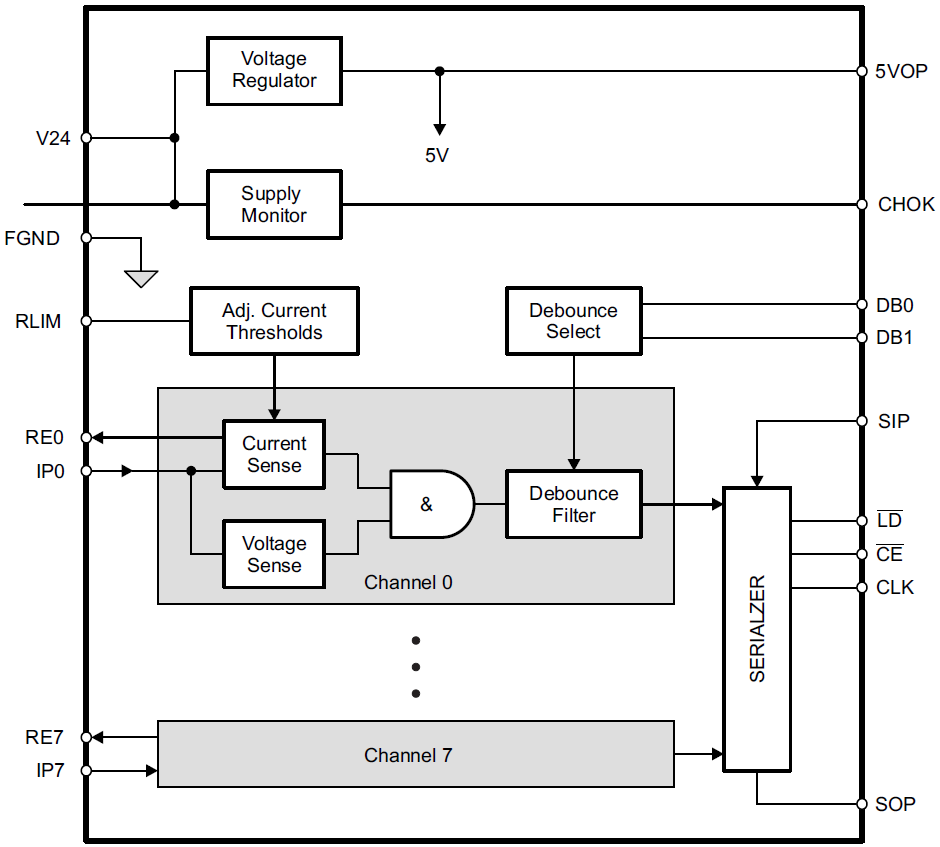
Texas Instruments SN65HVS883 Digital-Input Serializer is a 24V, eight-channel serializer for high-channel density digital input modules of PC and PLC-based systems in industrial automation. Combined with galvanic isolators, the device completes the interface between the 24V sensor outputs on the field side and the low-voltage controller inputs on the control side. Input signals provided by EN60947-5-2 compliant 2-wire and 3-wire proximity switches are current-limited and validated by internal debounce filters on the Texas Instruments SN65HVS883. The input switching characteristic is in accordance with IEC61131-2 for Type 1, 2, and 3 sensor switches. Upon the application of load and clock signals, input data is latched in parallel into the shift register. Afterward, it is clocked out serially via a subsequent isolator into a serial PLC input.

Features

  • Eight sensor inputs
    • High input voltage up to 34V
    • Selectable debounce filters from 0ms to 3ms
    • Adjustable current limits from 0.2mA to 5.2mA
    • Field inputs and supply lines are protected to 15kV HBM
  • Output drivers for external status LEDs
  • Cascadable for more inputs in multiples of eight
  • SPI-compatible interface
  • Regulated 5V output for external digital isolator
  • Low-supply voltage indicator

Applications

  • Sensor inputs for industrial automation and process control
  • IEC61131-2 type 1, 2, or 3 switches
  • EN60947-5-2 proximity switches
  • High channel count digital input modules for PC and PLC systems
  • Decentralized I/O modules

Functional Block Diagram

Block Diagram - Texas Instruments SN65HVS883 Digital-Input Serializer
Publicado: 2017-04-28 | Actualizado: 2022-04-28