Texas Instruments ADS4122 / ADS4142 / ADS4145 Ultra-Low-Power ADCs

Texas Instruments ADS4122, ADS4142, and ADS4145 Ultra-Low-Power Analog-to-Digital Converters (ADCs) are lower sampling speed variants of the ADS41xx family of ADCs. TI ADS4122 ADCs are 65MSPS 12-bit devices while ADS4142 ADCs are 65MSPS 14-bit devices. The ADS4145 is a 125MSPS 14-bit ADC. These TI ultra-low-power data converters use innovative design techniques to achieve high dynamic performance, while consuming extremely low power with a 1.8V supply. ADS4122, ADS4142, and ADS4145 ADCs are ideal for use in multi-carrier, wide-bandwidth communications applications.

Features

  • Ultra-low power with 1.8V single supply
    • 103mW total power at 65MSPS
    • 153mW total power at 125MSPS
  • High dynamic performance
    • SNR: 72.2dBFS at 170MHz
    • SFDR: 81dBc at 170MHz
  • Dynamic power scaling with sample rate
  • Output interface
    • Double data rate (DDR) LVDS with programmable swing and strength
  • 350mV standard swing
  • 200mV low swing
  • Default strength: 100Ω termination
  • 2× strength: 50Ω termination
    • 1.8V parallel CMOS interface also supported
  • Programmable gain up to 6dB for SNR/SFDR trade-off
  • DC offset correction
  • Supports low input clock amplitude down to 200mVPP
  • 7mm x 7mm QFN-48 package

Applications

  • Multi-carrier communications
  • Wide-bandwidth communications

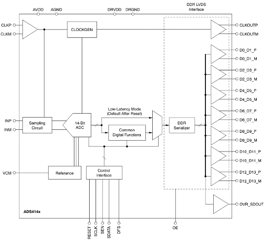
Block Diagram

Block Diagram - Texas Instruments ADS4122 / ADS4142 / ADS4145 Ultra-Low-Power ADCs
View Results ( 6 ) Page
N.º de artículo Descripción Serie Resolución Frecuencia de muestreo Consumo de energía
ADS4122IRGZT Conversores analógicos a digitales - ADC 12B 65MSPS Lo Pwr AD C A 595-ADS4122IRGZ A 595-ADS4122IRGZR ADS4122 12 bit 65 MS/s 95 mW
ADS4145IRGZT Conversores analógicos a digitales - ADC 14B 125MSPS Lo Pwr A DC A 595-ADS4145IRG A 595-ADS4145IRGZR ADS4145 14 bit 125 MS/s 136 mW
ADS4122IRGZR Conversores analógicos a digitales - ADC 12B 65MSPS Lo Pwr AD C A 595-ADS4122IRGZ A 595-ADS4122IRGZT ADS4122 12 bit 65 MS/s 95 mW
ADS4142IRGZR Conversores analógicos a digitales - ADC 14B 65MSPS Lo Pwr AD C A 595-ADS4142IRGZ A 595-ADS4142IRGZT ADS4142 14 bit 65 MS/s 95 mW
ADS4142IRGZT Conversores analógicos a digitales - ADC 14B 65MSPS Lo Pwr AD C A 595-ADS4142IRGZ A 595-ADS4142IRGZR ADS4142 14 bit 65 MS/s 95 mW
ADS4145IRGZR Conversores analógicos a digitales - ADC 14B 125MSPS Lo Pwr A DC A 595-ADS4145IRG A 595-ADS4145IRGZT ADS4145 14 bit 125 MS/s 136 mW
Publicado: 2011-12-12 | Actualizado: 2025-06-23