Texas Instruments OPAx322/OPAx322-Q1 20MHz CMOS Op Amps
Texas Instruments OPAx322/OPAx322-Q1 20MHz CMOS Operational Amplifiers (Op Amps) are single-, dual-, and quad-channel devices featuring low noise and rail-to-rail inputs/outputs optimized for low-power, single-supply applications. TI OPAx322/OPAx322-Q1 op amps are specified over a wide supply range of 1.8V to 5.5V. The low quiescent current of 1.5mA per channel makes these TI devices well-suited for power-sensitive applications.TI OPAx322/OPAx322-Q1 op amps combine very low noise (8.5nV/√Hz at 1kHz), high gain-bandwidth (20MHz), and fast slew rate (10V/µs). These TI devices feature low THD+N, making them excellent for consumer audio applications, particularly single-supply systems. The OPAx322-Q1 devices are AEC-Q100 qualified for automotive applications.
Features
- Gain Bandwidth: 20MHz
- Low Noise: 8.5nV/√Hz at 1kHz
- Slew Rate: 10V/µs
- Low THD+N: 0.0005%
- Rail-to-Rail I/O
- Offset Voltage: 2mV (max)
- Supply Voltage: 1.8V to 5.5V
- Supply Current: 1.5mA/ch
- Shutdown: 0.1µA/ch
- Unity-Gain Stable
Applications
- Sensor Signal Conditioning
- Consumer Audio
- Multi-Pole Active Filters
- Control-Loop Amplifiers
- Communications
- Security
- Scanners
Datasheets
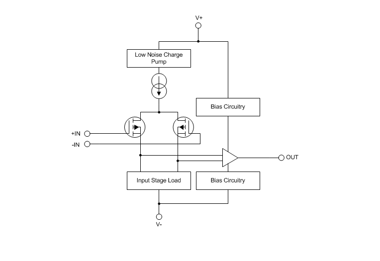
Functional Diagram
Publicado: 2012-01-19
| Actualizado: 2025-02-19
